Uchwyt do badania nieliniowej dynamiki płyty osiowosymetrycznej na wzbudniku elektromechanicznym ze sprzężeniami termomechanicznymi
Uchwyt do badania nieliniowej dynamiki płyty osiowosymetrycznej na wzbudniku elektromechanicznym ze sprzężeniami termomechanicznymi
Nr zgłoszenia: P.442814
Twórcy: ŁUKASZ KŁODA (PL), MARCIN DANIEL BOCHEŃSKI (PL), MARCIN KOWALCZUK (PL), ANDRZEJ WEREMCZUK (PL)
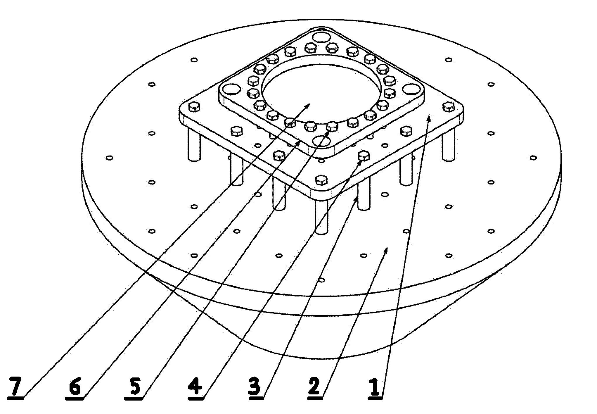
Przedmiotem zgłoszenia jest uchwyt do badania nieliniowej dynamiki płyty osiowosymetrycznej na wzbudniku elektromechanicznym ze sprzężeniami termomechanicznymi. Charakteryzuje się on tym, że składa się z płyty podstawy (1) z przelotowym otworem osiowosymetrycznym w jej centralnej części. Płyta podstawy (1) zamocowana jest do głowicy stołu wzbudnika elektromechanicznego (2) za pomocą tulei dystansujących (3), w których znajdują się śruby (4) w ten sposób, że tuleje dystansujące (3) znajdują się pomiędzy powierzchnią stołu wzbudnika elektromechanicznego (2) a dolną powierzchnią płyty podstawy (1). Śruby (4) znajdują się w pierwszych przelotowych otworach montażowych płyty podstawy (1), tulejach dystansujących (3) i wkręcone są w gwintowane otwory znajdujące się w stole wzbudnika elektromechanicznego (2). Płyta podstawy (1) połączona jest z płytą dociskową (6) za pomocą zestawu śrub zaciskowych (5) i nakrętek, które to śruby dociskowe (5) znajdują się w przelotowych otworach montażowych znajdujących się w płycie dociskowej (6) na obwodzie przelotowego otworu osiowosymetrycznego znajdującego się w jej centralnej części oraz śruby zaciskowe (5) znajdują się w drugich przelotowych otworach montażowych rozmieszczonych na obwodzie przelotowego otworu osiowosymetrycznego płyty podstawy (1) oraz śruby zaciskowe (5) zabezpieczone są nakrętkami tudzież badana próbka (7) jest osadzona pomiędzy płytą podstawy (1) a płytą dociskową (6) i osadzona jest współosiowo z przelotowym otworem osiowosymetrycznym płyty podstawy (1) i przelotowym otworem osiowosymetrycznym płyty dociskowej (6).

Nazwa patentu:
Uchwyt do badania nieliniowej dynamiki płyty osiowosymetrycznej na wzbudniku elektromechanicznym ze sprzężeniami termomechanicznymi
Udostępnij
Drukuj
