Uchwyt do mocowania belek na wzbudniku elektromechanicznym o regulowanej długości i kącie zaklinowania belki
Uchwyt do mocowania belek na wzbudniku elektromechanicznym o regulowanej długości i kącie zaklinowania belki
Nr zgłoszenia: P.437361
Twórcy: MAREK BOROWIEC (PL), ŁUKASZ KŁODA (PL)
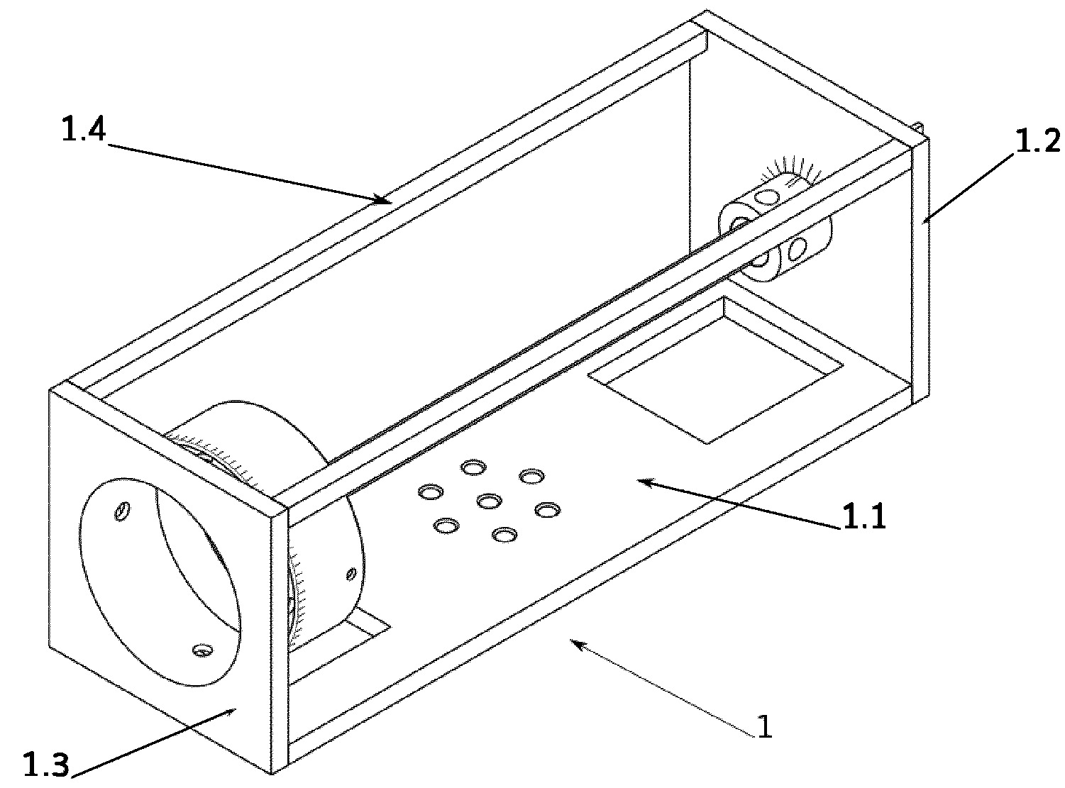
Przedmiotem zgłoszenia jest uchwyt do mocowania belek na wzbudniku elektromechanicznym o regulowanej długości i kącie zaklinowania belki, posiadający korpus i uchwyt. Charakteryzuje się on tym, że składa się z podstawy (1.1) w postaci płyty prostopadłościennej mocowanej do uchwytu wzbudnika, na której przeciwległych końcach zamocowane są dwie prostopadłe do niej płyty (1.2, 1.3). Pomiędzy wolnymi narożami płyt (1.2, 1.3) znajdują się belki łączące (1.4). Pierwsza płyta (1.2) posiada w części centralnej otwór, zaś od strony drugiej płyty (1.3), na około otworu znajduje się kołnierz, w którym zamocowany jest uchwyt próbki w postaci belki. Uchwyt próbki posiada postać dwóch części walca. Druga płyta (1.3) posiada w części centralnej otwór. Od strony pierwszej płyty (1.2), na około otworu znajduje się kołnierz, na którym osadzony jest uchwyt w postaci pierścienia czujników położenia próbki.

Nazwa patentu:
Uchwyt do mocowania belek na wzbudniku elektromechanicznym o regulowanej długości i kącie zaklinowania belki
Udostępnij
Drukuj
