Skip to content

Urządzenie do degradacji antybiotyków w wodzie

Nr zgłoszenia: P.440449
Twórcy: ANETA CZECHOWSKA-KOSACKA (PL), BERNARD POŁEDNIK (PL)
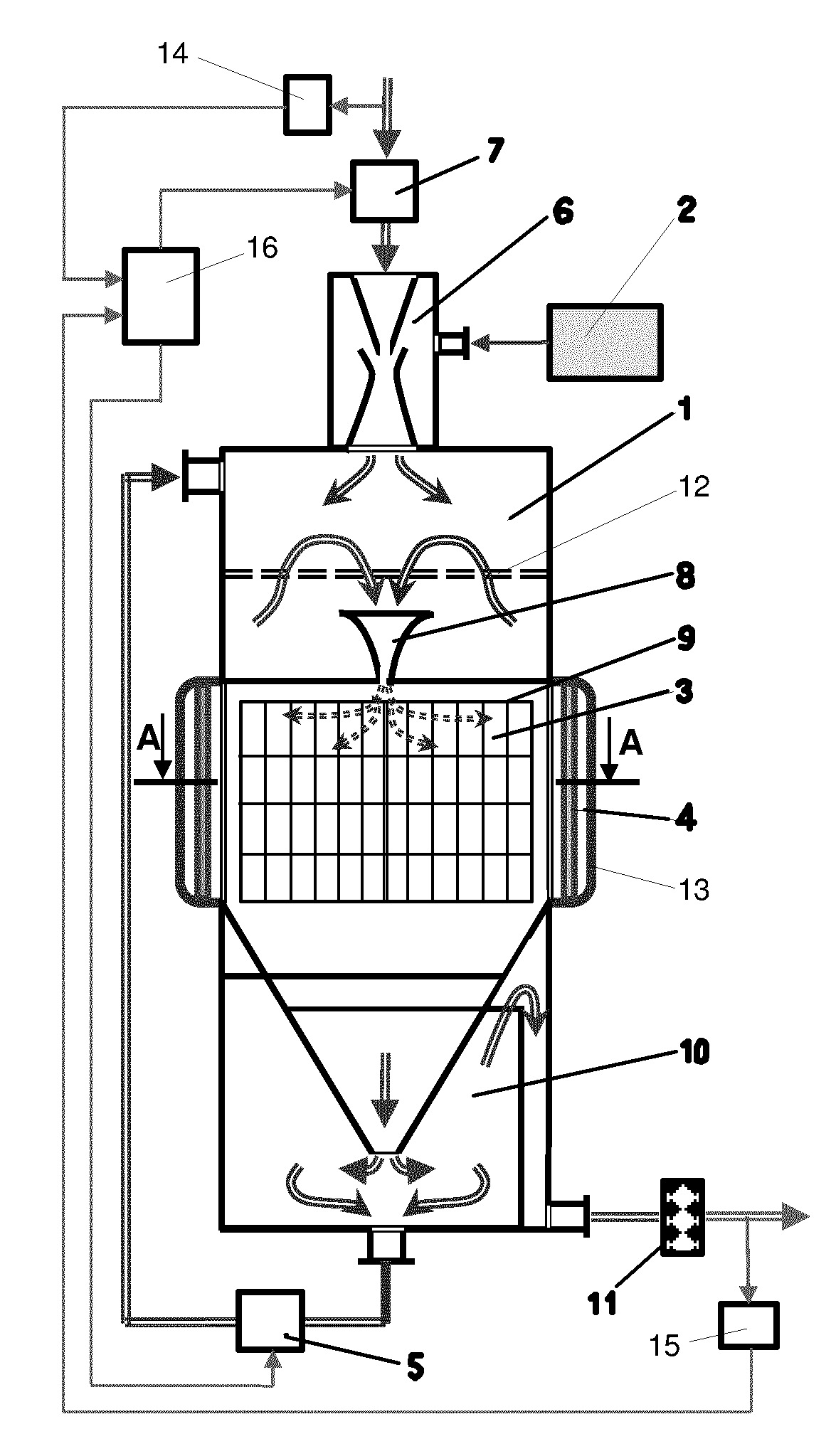
Przedmiotem wynalazku jest urządzenie do degradacji antybiotyków w wodzie posiadające zbiornik wstępny (1), zbiornik utleniacza (2), komorę reakcyjną (3), promienniki UV-C (4) oraz pompę cieczy (5) i dozownik inżektorowy (6). Charakteryzuje się ono tym, że dozownik inżektorowy (6) podłączony jest do instalacji wody zawierającej antybiotyki poprzez pompę wody (7) i połączony jest ze zbiornikiem utleniacza (2) oraz ze zbiornikiem wstępnym (1). Zbiornik wstępny (1) połączony jest z komorą reakcyjną (3) poprzez dyszę rozpylającą (8). W komorze reakcyjnej (3) znajduje się druciana przestrzenna siatka (9) pokryta warstwą fotokatalityczną. Na zewnętrznej stronie ścian komory reakcyjnej (3) wykonanych z materiału przepuszczającego promieniowanie UV-C zainstalowane są promienniki UV-C (4). Komora reakcyjna (3) połączona jest ze zbiornikiem przelewowym (10), którego odprowadzenie przelewowe połączone jest z instalacją wody oczyszczonej poprzez filtr wody (11). Odprowadzenie wylewowe z dolnej części zbiornika przelewowego (10) połączone jest ze zbiornikiem wstępnym (1) poprzez pompę cieczy (5).

    Formularz kontaktowy







    Wykorzystanie:



    Nazwa patentu:
    Urządzenie do degradacji antybiotyków w wodzie

    Udostępnij
    Drukuj