Urządzenie do regulowanego spieniania asfaltu
Nr zgłoszenia: P.445621
Twórcy: BERNARD POŁEDNIK (PL), WOJCIECH FRANUS (PL), MAŁGORZATA FRANUS (PL)
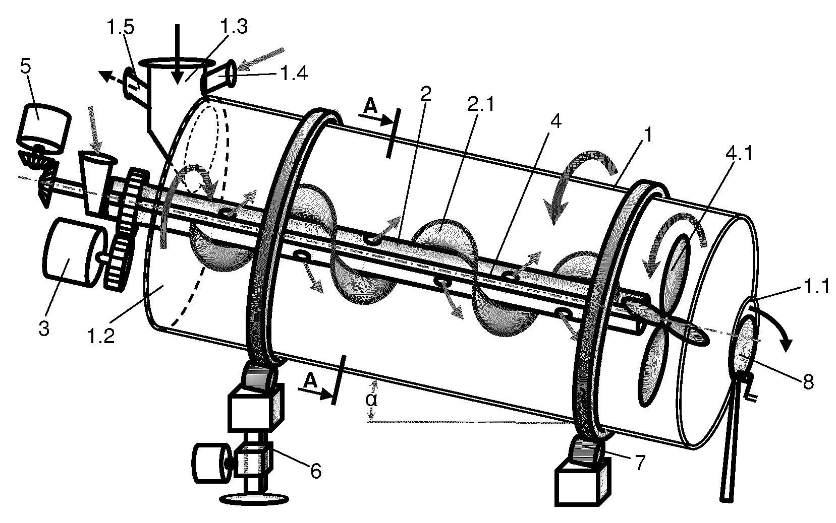
Przedmiotem zgłoszenia jest urządzenie do regulowanego spieniania asfaltu posiadające ogrzewany zbiornik (1) w kształcie walca ze spustem (1.1) w końcowej części, zaś w początkowej części zbiornika (1) znajduje się pokrywa (1.2) z wlotem asfaltu (1.3) oraz do wlotu asfaltu (1.3) podłączony jest króciec wlotu środka spieniającego (1.4) i króciec wydmuchowy (1.5). Wewnątrz zbiornika (1) w jego osi znajduje się pierwszy wał (2) w postaci rury z otworami znajdującymi się na jej powierzchni bocznej, do którego to pierwszego wału (2) zamocowane są pierwsze łopaty mieszające (2.1). Pierwszy wał (2) podłączony jest do dozownika środka spieniającego i sprzężony jest z napędem obrotowym (3). Wewnątrz pierwszego wału (2) znajduje się usytuowany współosiowo drugi wał (4) w postaci rury, który napędzany jest niezależnym napędem (5) i na którego końcu zamocowane są drugie łopaty mieszające (4.1). Charakteryzuje się ono tym, że oś zbiornika (1) nachylona jest do podłoża pod kątem ostrym (α). Do zewnętrznej powierzchni bocznej początkowej części zbiornika (1) zamocowany jest koniec podnośnika (6) usadowionego na podłożu. Do zewnętrznej powierzchni bocznej zbiornika (1) zamocowany jest mechanizm (7) obracający zbiornik (1) wokół jego osi. Pierwsze łopaty mieszające (2.1) są w kształcie wstęgi ślimaka, zaś drugie łopaty mieszające (4.1) tworzą śmigło. W spuście (1.1) znajduje się zasuwa (8).

Nazwa patentu:
Urządzenie do regulowanego spieniania asfaltu
Udostępnij
Drukuj
