Urządzenie do samoczynnego oczyszczania i napowietrzania wody, zwłaszcza w rzece
Urządzenie do samoczynnego oczyszczania i napowietrzania wody, zwłaszcza w rzece
Nr zgłoszenia: P.442407
Twórcy: BERNARD POŁEDNIK (PL), MACIEJ NOWICKI (PL)
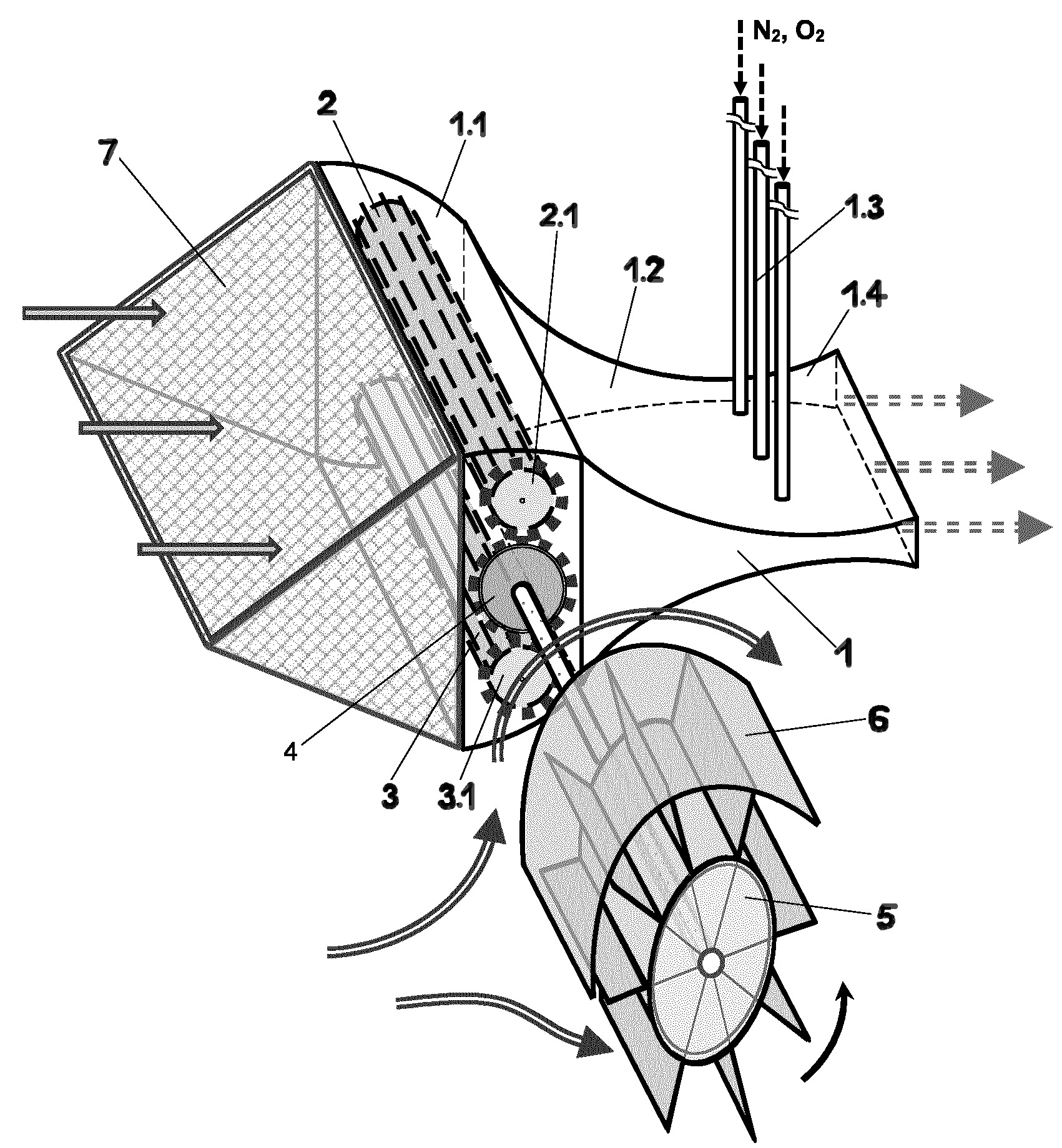
Przedmiotem wynalazku jest urządzenie do samoczynnego oczyszczania i napowietrzania wody, zwłaszcza w rzece, posiadające dyszę Venturiego (1) z częścią wlotową (1.1), częścią środkową (1.2), do której podłączone są napowietrzacze (1.3) oraz z częścią wylotową (1.4). Charakteryzuje się ono tym, że w części wlotowej (1.1) dyszy Venturiego (1) zamontowane są dwa wirniki pompy wody (2, 3), na których wałach zamocowane są koła zębate (2.1, 3.1) sprzężone z napędowym kołem zębatym (4) osadzonym na wale połączonym z kołem wodnym (5) osłoniętym w połowie przez kierownicę wody (6).

Nazwa patentu:
Urządzenie do samoczynnego oczyszczania i napowietrzania wody, zwłaszcza w rzece
Udostępnij
Drukuj
