Skip to content

Obciążka do dźwigu

Nr zgłoszenia: P.416361
Twórcy: KAMIL SZYDŁO (PL), PAWEŁ LONKWIC (PL), RAFAŁ LONGWIC (PL)
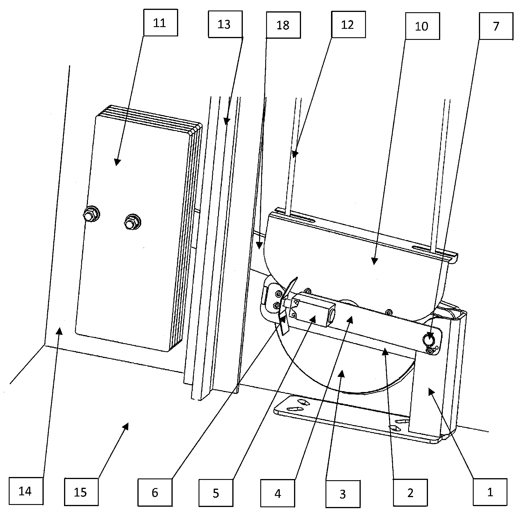
Obciążka do dźwigu składa się z korpusu (1) stalowego, którego część pionową stanowi korpus w kształcie ceownika, zaś część dolną korpusu stanowi poziomy płaskownik, w którym wykonane są otwory mocujące do dna (15) podszybia. W części górnej korpusu (1) zamontowane są obrotowo poprzez sworzeń (7) zawiasu ramiona (2), które na obu końcach połączone są ze sobą na stałe płaskownikiem. Pomiędzy ramionami na sworzniu koła linowego zamocowane jest koło (3) linowe. Na sworzniu (7) zawiasu i sworzniu koła linowego zamocowane jest ramię (18) obciążnika, które poprzez podkładki dystansowe znajdujące się na sworzniu koła i sworzniu (7) zawiasu jest oddalone od ramion (2). Do ramion (2) przymocowana jest osłona (10) koła (3) linowego i krzywka (6) uruchamiająca wyłącznik (5) bezpieczeństwa, zamocowany do wspornika (4) przymocowanego do korpusu (1) w kształcie ceownika.

    Formularz kontaktowy







    Wykorzystanie:



    Nazwa patentu:
    Obciążka do dźwigu

    Udostępnij
    Drukuj