Sposób wytwarzania dwuwarstwowego pojemnika, zwłaszcza z papieru lub z folii polimerowej
Sposób wytwarzania dwuwarstwowego pojemnika, zwłaszcza z papieru lub z folii polimerowej
Nr zgłoszenia: P.421070
Twórcy: TOMASZ KLEPKA (PL), DARIUSZ CHOCYK (PL)
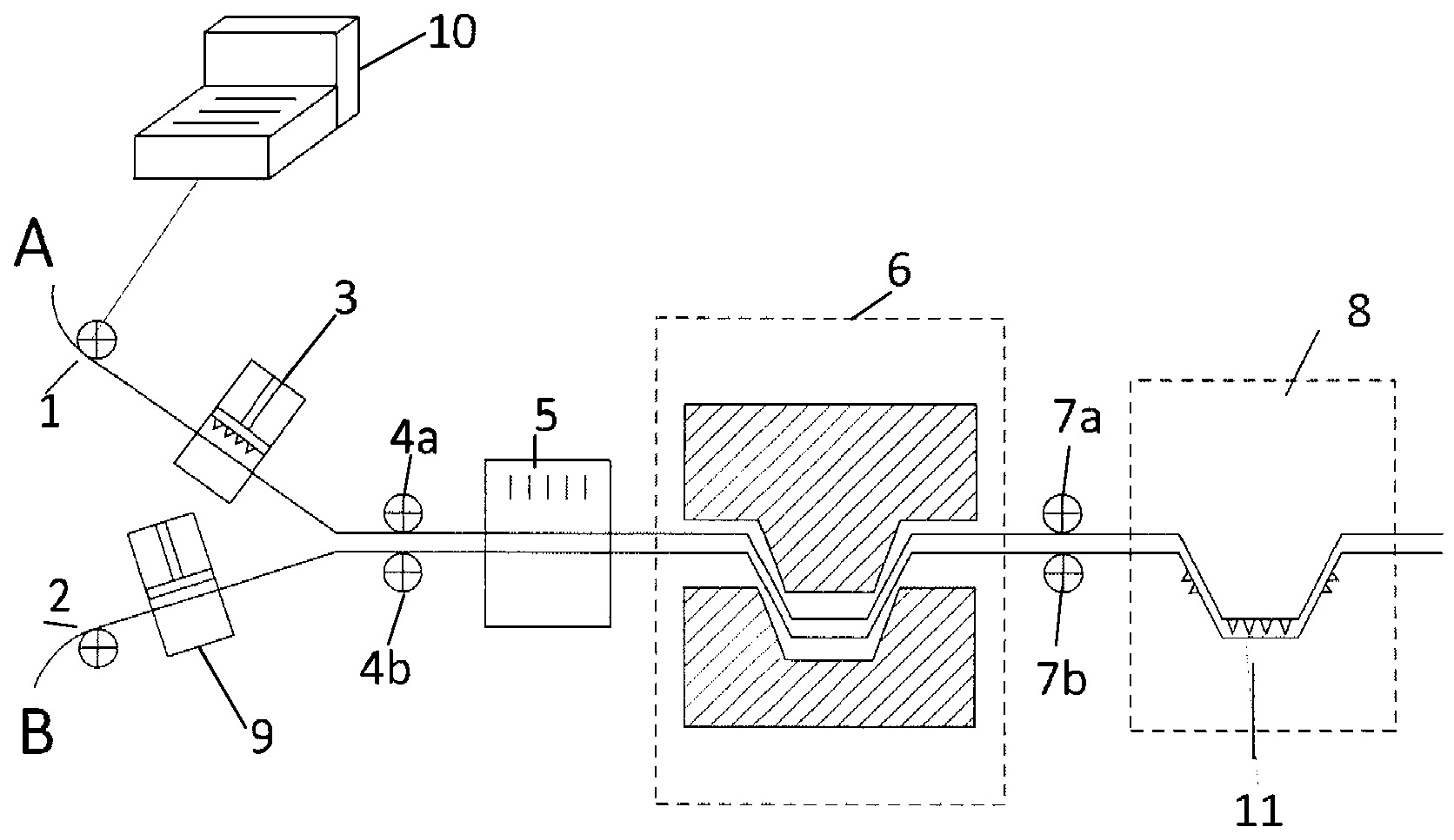
Sposób wytwarzania dwuwarstwowego pojemnika zwłaszcza z papieru lub z folii polimerowej polega tym, że materiał w postaci taśm z papieru lub folii podaje się z dwu podajników, przy czym taśmę (A) górną z podajnika (1) poddaje się nacinaniu w urządzeniu (3) nacinającym, w całym przekroju poprzecznym, na wskroś grubości papieru, zaś z podajnika (2) dolnego podaje się taśmę (B) dolną bez nacięć. Po czym obie taśmy papieru lub folii są dociskane do siebie poprzez rolki (4a) i (4b) dociskające i kieruje sieje do urządzenia (5) nawilżającego, następnie obie taśmy (A) oraz (B) papieru lub folii wprowadza się do prasy (6) i formuję znanym sposobem, przy czym prędkość obu taśm reguluje się za pomocą silników krokowych umieszczonych w podajniku (1) i podajniku (2) oraz rolkach (4a) oraz (7a) i steruje się z komputera (10). Po uformowaniu pojemnika (11) dwuwarstwowego, wprowadza się go do komory klimatycznej (8). Zaś nacięcia w taśmie (A) górnej z papieru lub folii wykonuje się w urządzeniu (3), zaś nacięcia w taśmie (B) dolnej w urządzeniu (9) tłocząco-nacinającym. Nacięcia w ściance pojemnika (11) mogą posiadać kształt, dwu przecinających się odcinków o kącie ramion co 90°, trzech odcinków przecinających się w jednym punkcie o kącie ramion co 120°, a także fal o przebiegu do siebie równoległym.

Nazwa patentu:
Sposób wytwarzania dwuwarstwowego pojemnika, zwłaszcza z papieru lub z folii polimerowej
Udostępnij
Drukuj
