Skip to content

Układ i sposób zwiększania prądu zwarciowego przekształtników AC/DC

Nr zgłoszenia: P.422877
Twórcy: DARIUSZ ZIELIŃSKI (PL), BARTŁOMIEJ MROCZEK (PL), KAROL FATYGA (PL), ŁUKASZ KWAŚNY (PL), WOJCIECH JARZYNA (PL), KATARZYNA ZIELIŃSKA (PL)
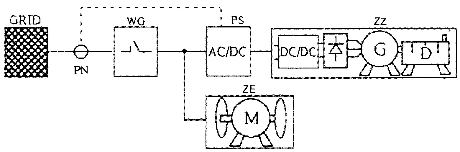
Układ do zwiększania prądu zwarciowego przekształtników AC/DC charakteryzuje się tym, że sieć trójfazowa (GRID) połączona jest z układem pomiaru napięcia (PN), który podłączony jest z wyłącznikiem głównym (WG). Wyłącznik główny (WG) połączony jest linią trójfazową z przekształtnikiem AC/DC (PS), który połączony jest ze źródłem zasilania (ZZ). Dodatkowo linia trójfazowa połączona jest z kinetycznym zasobnikiem energii (ZE) w postaci trójfazowego silnika synchronicznego (M), na którego co najmniej jednym wale zainstalowano masę wirującą. Sposób zwiększania prądu zwarciowego przekształtników AC/DC charakteryzuje się tym, że podłącza się sieć trójfazową (GRID) do układu pomiaru napięcia (PN) i mierzy się parametry napięcia sieci i przesyła się zmierzone chwilowe wartości napięć do przekształtnika AC/DC (PS). Jednocześnie za pomocą przekształtnika AC/DC (PS) pobiera się energię ze źródła zasilania (ZZ) i rozpędza się kinetyczny zasobnik (ZE) w postaci trójfazowego silnika synchronicznego (M), na którego co najmniej jednym wale zainstalowano masę wirującą, do momentu kiedy przekształtnik AC/DC (PS) osiągnie parametry napięcia tożsame z parametrami zmierzonymi przez układ pomiaru napięcia (PN) i załącza się wyłącznik główny (WG). W momencie wystąpienia zwarcia w sieci trójfazowej (GRID) z kinetycznego zasobnika energii (ZE) przesyła się zgromadzoną energię do sieci trójfazowej (GRID) i tym samym zwiększa się prąd zwarciowy przekształtnika AC/DC (PS).

    Formularz kontaktowy







    Wykorzystanie:



    Nazwa patentu:
    Układ i sposób zwiększania prądu zwarciowego przekształtników AC/DC

    Udostępnij
    Drukuj