Wiata przystankowa z zieloną ścianą
Nr zgłoszenia: P.440119
Twórcy: MACIEJ NOWICKI (PL), BERNARD POŁEDNIK (PL)
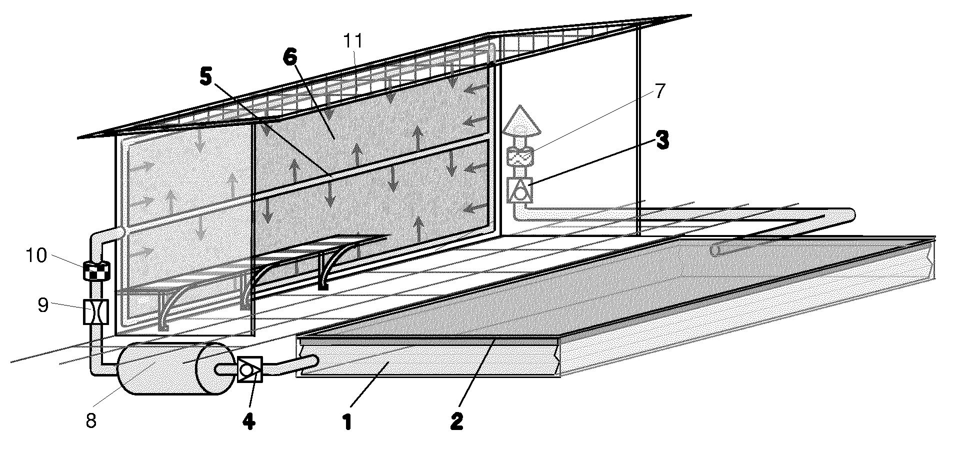
Przedmiotem wynalazku jest przystanek komunikacyjny z ekologiczną wiatą posiadającą ściany i zadaszenie, zlokalizowany przy zatoce autobusowej. Charakteryzuje się on tym, że w obrębie zatoki w miejscu zatrzymywania się pojazdów, jest zagłębiona komora, w której umieszczona jest poduszka pneumatyczna (1) posiadająca wlot i wylot powietrza, na której ułożona jest płyta najazdowa (2). Na wlocie powietrza do poduszki pneumatycznej (1) znajduje się pierwszy zawór zwrotny (3). Wylot powietrza z poduszki pneumatycznej (1) połączony jest poprzez drugi zawór zwrotny (4) z układem dysz (5) zamontowanych w zielonej ścianie (6) będącej ścianą wiaty.

Nazwa patentu:
Wiata przystankowa z zieloną ścianą
Udostępnij
Drukuj
